Docket #: S12-374
Power electronics system that harvests excess power from unbalanced photovoltaic modules to boost overall efficiency
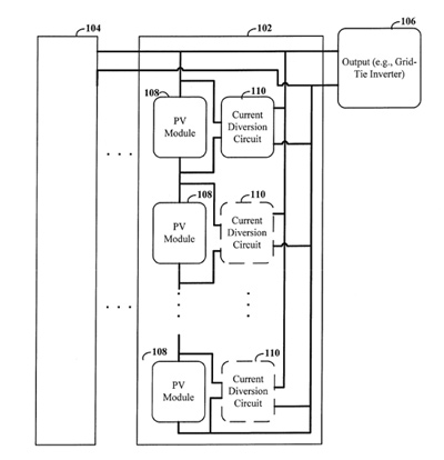
Stanford researchers have developed an efficient and low-cost device which increases the energy harvest of a system by recovering these losses through module-level maximum power point tracking (MPPT). Through a new circuit architecture which diverts mismatched power rather than the entire panel power, this device efficiently boosts power output from solar modules while utilizing low-cost, low-power components. This design has the potential to allow developers of large-scale solar systems to utilize land more effectively and decrease maintenance costs.
Figure

Stage of Research:
First iteration prototype has been built to demonstrate the feasibility of this MPPT circuit and software algorithm
Related Technolgies from The Dally Lab:
Stanford Docket S14-246 "Probabilistic Cache Replacement to Reduce Cache Misses"
Stanford Docket S12-138 "High-Radix Interprocessor Communications System and Method"
Stanford Docket S11-305 "Speculative Reservation Protocol"
Stanford Docket S07-039 "Flattened Butterfly: Cost-efficient High-Radix Topology"
Stanford Docket S07-359 "Technology-Driven, Highly-Scalable Dragonfly Topology"
Applications
- Utility and commercial PV installations
- Residential PV installations
Advantages
- Optimizes performance of power panels
- Higher efficiency
- Higher tolerance for device failure
- Monitoring capability
- Utilizes land more effectively
- Reduces bill of materials cost
- Decreases maintenance cost
Patents
- Published Application: 2014-265589
- Published Application: WO2014151843
Similar Technologies
-
Ultrathin dielectric metasurface optical elements for easy fabrication and integration with semiconductor electronics S13-484Ultrathin dielectric metasurface optical elements for easy fabrication and integration with semiconductor electronics
-
Metamaterial Design and Fabrication for High Performance, Miniaturized Optical Systems S16-118Metamaterial Design and Fabrication for High Performance, Miniaturized Optical Systems
-
Alloyed halide double perovskites as solar-cell absorbers S17-075Alloyed halide double perovskites as solar-cell absorbers